Гроб с колокольчиком
Страх людей быть погребёнными заживо насчитывает тысячи лет. Некогда гробы делали с колокольчиком или устройствами, которые могли вызывать кладбищенских смотрителей. Мотивом послужил всё тот же страх, что гробовщик похоронит кого-то живым.
Многие известные люди страдали от него, например, первый президент Америки Джордж Вашингтон (1732-1799). Именно поэтому выдавались различные патенты, чтобы предотвратить захоронение еще живых людей.
В 19 веке существовал ряд изобретений, которые помогли бы тому, кто был похоронен заживо, спастись, вдохнуть и подать сигнал о помощи.
Изобретения, которые облегчают жизнь

В 1792 году герцог Фердинанд Брауншвейгский сделал гроб с трубкой, по которой поступал воздух, и трубой, с помощью которой можно было вызвать помощь.
Семь лет спустя появляется версия с колоколом, работа немецкого приходского священника. Озабоченность по поводу захоронения живых достигает такой степени, что в 1882 году в патентном бюро США появляется человек по имени Дж.Г. Крихбаум с изобретением в виде безопасного гроба с дыхательной трубкой и перископом. Вращающийся перископ предупреждал прохожих о движении под землей.
Кристин Куигли в своей книге “Труп: история», утверждает, что «в начале 1900-х годов случаи преждевременного захоронения обнаруживались в среднем раз в неделю”. Раз в неделю! Это не просто повод для беспокойства — это то, над чем нужно работать, чтобы предотвратить. Итак, как убедиться, что мертвые действительно мертвы?
Патент (США) № 81 437, выданный Францу Вестеру 25 августа 1868 г. на «Улучшенный гроб».
Гробница оснащена рядом приспособлений, включая воздухозаборник (F), лестницу (H) и колокол (I), чтобы человек, проснувшись, мог спастись. «Если он слишком слаб, чтобы подняться по лестнице, он может позвонить в колокольчик, подав желаемый сигнал о помощи, и таким образом спасти себя от преждевременной смерти, будучи погребенным заживо», — поясняется в патенте.

Патент № 268 693 выдано 5 декабря 1882 г. Джону Кричбауму на «Устройство для индикации жизни в погребенных людях».
Если погребенный человек оживет, движение его рук повернет ветви Т-образной трубы B, на которую или рядом с которой помещены его руки». Шкала отметок на боковой стороне верхней части (E) указывает на движение буквы T, воздух проходит по трубе. Когда пройдет достаточно времени, чтобы убедиться, что человек мертв, устройство можно удалить.

Патент (США) № 329 495, выданный 3 ноября 1885 г. Чарльзу Зилеру и Фредерику Борнтрегеру на «Погребальный гроб».
Изобретение предусматривает усовершенствование важных компонентов предыдущих изобретений, «закопанных заживо». В этом случае движение тела приводит в действие вентилятор с часовым механизмом (рис. 6), который нагнетает свежий пригодный для дыхания воздух в гроб вместо пассивной воздуховодной трубы. Устройство также включает сигнализацию на батарейках (M). Согласно патенту, «когда рука двигается, оголенная часть провода соприкасается с телом, замыкая цепь между сигнализацией и землей до тела в гробу», срабатывает сигнализация. Имеется также подпружиненный стержень (I), который поднимает перья или другие сигнальные устройства. Кроме того, над лицом закопанного тела располагается трубка (Е), так что по трубе можно ввести лампу, и «человек, смотрящий вниз через трубку, может увидеть лицо тела в гробу».

По мере развития медицины, конечно же, были и технологические достижения в определении того, жив человек или мертв. Врачи могут подключить тело к приборам, которые контролируют сердцебиение, мозговые волны и дыхание. Но даже несмотря на то, что мода на сигнализацию для гробов давно прошла, есть в связи с умершими некоторые интересные инновации 21-го века.
Патент (США) № 7 765 656 , выданный 3 августа 2010 г. Джеффу Данненбергу на «Устройство и метод для создания аудиосвязи после захоронения в погребальном гробу».

В этом случае гроб имеет систему звуковых сообщений (20), содержащую звуковые и музыкальные файлы, которые автоматически воспроизводятся в соответствии с запрограммированным расписанием, что позволяет живым общаться с умершими. Система также позволяет обновлять записанные файлы по беспроводной сети, давая «выжившим членам семьи возможность обновлять, пересматривать и редактировать сохраненные аудиофайлы и программы после похорон».
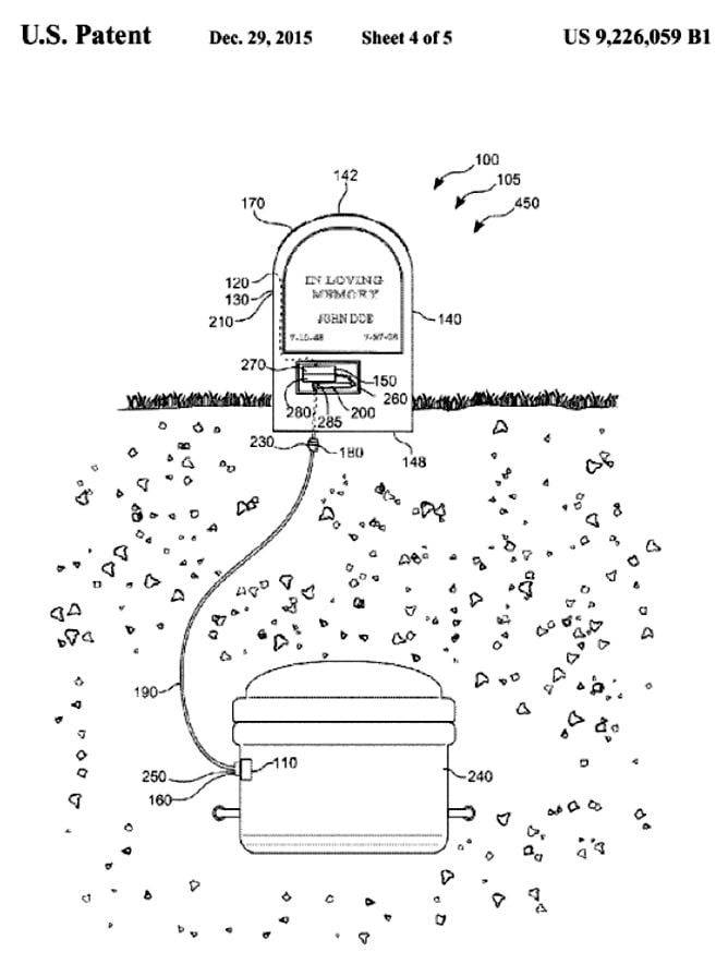
Патент (США) № 9 226 059, выданный 29 декабря 2015 г. Джону Найту

Система включает в себя цифровой музыкальный проигрыватель с питанием от солнечной батареи, который позволяет как живым, так и усопшим утешиться музыкой или записанным сообщением. В гробу есть динамик, а на надгробии разъем для гарнитуры.
Ограбление гробниц было признано проблемой еще в раннединастический период (ок. 3150 — ок. 2613 до н. э.), и живые принимали меры для защиты усопших и их ценностей еще во времена египетских фараонов . Многие из этих гробниц были оснащены средствами устрашения и мерами безопасности.
Например, изобретение, запатентованное в 1994 году, представляет собой новый уровень защиты ценностей умершего. Аппарат прикрепляет украшения, которые носил покойный, к системе сигнализации, и также прикрепляет их к гробу. Так что даже после того, как «смерть разлучит нас», супруги могут носить свои обручальные кольца вечность.
Истории об историях погребённых заживо
Тафофобия — это медицинский термин, обозначающий страх быть похороненным заживо в результате неправильного объявления о смерти. Как видим, этот страх был распространен на протяжении веков.
Опасаясь преждевременных похорон, Ханна Бесвик, англичанка в 18-м веке, оставила все свое состояние своему врачу Чарльзу Уайту с одним условием: ее тело никогда не будет захоронено. Никогда. Вместо этого Уайт должен был каждый день проверять ее труп, пока не будет уверен, действительно уверен, что она мертва. В какой-то момент Уайт забальзамировал ее тело. Он хранил ее мумифицированные останки в своей коллекции анатомических образцов, и каждый день в течение нескольких лет добрый доктор и два свидетеля обнажали Бесвик и убеждались, что она все еще мертва. Позже он поместил ее тело в старый футляр для часов, и, как пишет Ян Бондесон в своей книге “Кабинет медицинских диковинок", доктор открывал футляр "раз в год, чтобы посмотреть, как дела у его любимой пациентки”.
Страх перед преждевременным погребением достиг пика в XVIII и XIX веках, чему в немалой степени способствовал страшный рассказ Эдгара Аллана По «Заживо погребённый». Писатель подробно описывает якобы подлинные истории людей, которые были похоронены заживо, а затем рассказывает о своем собственном мрачном опыте погребения в гробу и о том, как он себе это представлял. Он заставляет друзей обещать, что они не будут его хоронить. преждевременно, не уходит из своего дома и строит гробницу с оборудованием, позволяющим ему подать сигнал о помощи на случай, если будет похоронен заживо,
В 1889 году женщина по имени Октавия Хэтчер потеряла своего первого сына Джейкоба, когда он был еще младенцем. Из-за глубокой депрессии она несколько месяцев пролежала в постели. Она заразилась неизвестной болезнью, от которой впала в кому. Ее объявили мертвой и быстро похоронили. Через несколько дней, когда у других жителей города стали проявляться те же симптомы, что и у Октавии - слабый пульс, сон, похожий на кому, поверхностное дыхание, - ее муж Джон запаниковал и приказал эксгумировать ее тело, на случай, если она действительно не умерла, когда ее хоронили. Он оказался прав - крышка гроба Октавии была разодрана, а ногти сломаны и окровавлены. Ее посмертное выражение лица выражало ужас и боль.
19-летний француз по имени Анджело Хейс в 1937 году врезался на мотоцикле в кирпичную стену и был признан мертвым на месте. По сообщениям, его голова была настолько раздроблена, что его родителям не разрешили увидеть его до того, как он был похоронен через три дня после аварии. По страховым причинам тело Хейса эксгумировали два дня спустя, и нашли живым в гробу, который не был герметичным. Хейсу оказали медицинскую помощь, и он стал своего рода знаменитостью во Франции, где он изобрел и продал специальный защитный гроб со встроенным кассетным плеером и холодильником.
Стивен Смолл был бизнесменом в штате Иллинойс в 1987 году, когда ему позвонили и сказали, что он должен встретиться с местной полицией в принадлежащем ему доме. В тот день позвонили и жене Смолла, но ее звонок был менее завуалированным: ей сообщили, что ее муж похищен и будет возвращен, если она заплатит выкуп в 1 миллион долларов. Стивен поговорил с ней по телефону и объяснил, что на него надели наручники и положили в сосновый ящик. Похитители закопали его на 3 фута под землю и дали ему воду и воздушную трубку, чтобы он мог выжить. К сожалению, к тому времени, когда полиция обнаружила место захоронения, его дыхательная трубка вышла из строя, и он задохнулся.
Еще в 14 веке есть сообщения о том, что конкретных людей хоронили заживо. Хотя это, вероятно, апокриф, когда гробница была открыта, тело философа Средневековья Джона Дунса Скота, как сообщается, было найдено вне его гроба, его руки были разодраны таким образом, что предполагается, что он пытался освободиться.
Документально подтверждено, что в Англии в 17 веке женщина по имени Алиса Бланден была похоронена заживо. Как гласит история, она выпила настолько большое количество чая с маком, что врач, поднесший зеркало к её носу и рту, констатировал ее смерть. (Чай, приготовленный из высушенных, немытых стручков с семянами, должен был содержать морфин и кодеин, которые являются успокаивающими средствами.) Ее семья быстро организовала похороны, но через два дня после того, как Алису положили в землю, дети, игравшие возле ее могилы, услышали шум. Их школьный учитель пошел сам проверить могилу и обнаружил, что Бланден еще жива. На эксгумацию ушел еще день. Она была так близка к смерти, что ее вернули в могилу, где стоял почему-то охранник. На следующее утро Алису Бланден нашли мертвой, после того, как она снова попыталась освободиться.
И современная медицина не развеяла рассказы о погребении заживо.
Когда в 2011 году 49-летняя Фагиля Мухаметзянова из Казани потеряла сознание дома после сердечного приступа, ее вскоре объявили умершей. Через несколько дней, когда она лежала в гробу на собственных похоронах, Фагиля очнулась. Она увидела скорбящих вокруг себя, плачущих и молящихся за нее, быстро сообразила, что происходит, начала кричать, и ее срочно увезли обратно в больницу. Мухаметзянова прожила еще 12 минут в реанимации, прежде чем снова умереть, на этот раз навсегда. Причина смерти? Сердечная недостаточность.
Уолтер Уильямс из Миссисипи был объявлен мертвым 26 февраля 2014 года. Как сообщил CNN, документы были оформлены правильно, его тело было помещено в мешок для трупов и доставлено в похоронное бюро. Когда тело было попало в комнату для бальзамирования, ноги Уолтера начали двигаться. Затем коронер заметил, что он дышит. Уильямс был жив. Как оказалось, это была недолгая передышка. Чуть более двух недель спустя он скончался по-настоящему и окончательно.

При копировании материала ссылка на сайт ghostparanormal.ru обязательна.
Я люблю такие истории, и всегда приятно прочитать что-то, о чем раньше не слышал. Одна из моих тем — о странных смертях — кто знал, что можно умереть от ящериц? Или быть убитым домашним попугаем? …